SUNSYSTEM PSM 50
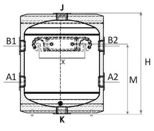
Ellenőrzött minőségű acéllemezből készülő SUNSYSTEM PSM 50 hűtési / fűtési puffer tároló hőszivattyúhoz, kemény PU szigeteléssel és porfestett acéllemez külső burkolattal. A 180°-os csonkozású tartály, 2x2 db belső menetes, 6/4"-os csatlakozással szállított. 6 bar üzemi nyomással, puffer tartály és hidrováltó felhasználási célra.
Fali vagy padlón álló telepítésre előkészítve - alapfelszereltségben fali tartó konzolokkal és becsavarható támasztólábbakkal szállított.
A központi fűtésrendszerbe bekötött Sunsystem PSM tartályok az előállított és a fűtésre vagy hűtésre közvetlenül fel nem használt hőenergiát felfogják, tárolják, majd az igénynek megfelelő tempóban, egy keringető szivattyún keresztül betáplálják a rendszerbe.
Használatával csökken a fűtő/hűtő berendezés bekapcsolások száma, illetve mérsékli az eltérő hőmérsékletű körök okozta terheléseket.
A SUNSYSTEM PSM 50 hűtési / fűtési puffer tartály legfontosabb jellemzői:

- Acéllemez tartály test, alacsony széntartalmú acélból S235JR
- Fix, kemény PU szigetelés, porfestett acéllemez külső burkolattal - 450 mm teljes átmérővel
- 2 soros 2 pontos csonkozás - 180°-ban elforgatott 6/4”-os belső menetes csatlakozók, további 1 db 6/4"-os felső és 1 db 6/4"-os alsó csatlakozóval
- Maximális üzemi nyomás 6 bar, üzemi hőmérséklet tartomány 7 - 95 °C
- C energiahatékonysági osztály
A tartály alapfelszereltsége:
- acél tartály test szigeteléssel és lemez burkolattal
- függesztő konzol a fali telepítéshez
- támasztóláb a padlóra állításhoz
- GARANCIA
3 év garancia a tartály test hegesztési minőségére és víz szivárgásra